公司簡介
|
金湖順儀儀表有限公司是專業的工業自動化儀表生產企業, 生產多個類型的溫度儀表、壓力儀表、顯示儀表、校驗儀表、流量儀表、儀表盤、線纜橋架以及儀表專用電纜、補償導線等。我廠座落在風景秀麗的漁米之鄉--江蘇省金湖縣,毗鄰揚州、南京,交通十分便利,經過多年的積累,我廠現已發展成為集生產、銷售、研發為一體的綜合性儀表生產廠家。
我公司自成立以來,本著“以科技創造奇跡”的經營理念,堅持“與巨人同步”的發展戰略,在短短的時間內取得了驕人的業績和長足的發展。以科技為先導,以客戶價值為依托,有包括您在內的社會各界的一如既往的支持,我們相信,我司一定會成為您事業的助推器。
在網絡發展"高速化、數字化、綜合化、智能化"的今天,我司將以"誠信、創新、高效、進取"的企業精神。我們愿意通過現代化網絡手段,為社會各界提供一個更為快捷方便的服務渠道。
當今企業在市場經濟大潮中,直接面臨著知識經濟和商品經濟的雙重壓力,此種情況既給企業創造更多更好的機會,同時也使企業面臨更大的風險和挑戰!著眼現在,瞄準將來,我們將以過硬的產品質量、良好的企業信譽、誠信的售后服務,創造更加美好的明天。
展開
產品說明
|
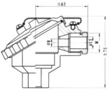
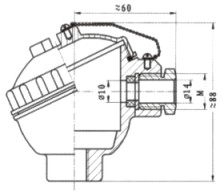
產品名稱:裝配式熱電偶
|
 |
|
 |
|
放大圖片
|
|
 |
產品介紹:
|
 |
| 工業用裝配式熱電偶由金湖順儀儀表有限公司生產,工業用裝配式熱電偶作為測量溫度[1]的變送器通常和顯示儀表、記錄儀表和電子調節器配套使用.它可以直接測量各種生產過程中從0℃到1800℃范圍的液體、蒸汽和氣體介質以及固體的表面溫度。 |
|
 |
詳細內容:
|
 |
| 裝配式熱電偶 |
|
普通裝配式熱電偶
 |
應用 |
|
通常和顯示儀表、記錄儀表、電子計算機等配套使用。直接測量各種生產過程中0~1300℃范圍內的液體、蒸汽和氣體介質以及固體表面溫度。
|
|
| |
|
 |
特點 |
| |
●裝配簡單,更換方便;
●壓簧式感溫元件,抗振性能好;
●測量范圍大;
●機械強度高,耐壓性能好; |
| |
|
 |
工作原理 |
|
熱電偶的電極由兩根不同導體材質組成。當測量端與參比端存在溫差時,就會產生熱電勢,工作儀表便顯示出熱電勢所對應的溫度值。
|
| |
|
 |
主要技術參數 |
| |
○產品執行標準
IEC584
IEC1515
GB/T16839-1997
JB/T5582-91 |
| |
|
| |
○常溫絕緣電阻 |
|
熱電偶在環境溫度為20±15℃,相對濕度不大于80%,試驗電壓為500±50V(直流)電極與外套管之間的絕緣電阻≥100MΩ.m。
|
| |
|
| |
○測量范圍及允差 |
| |
| 型號 |
分度號 |
允許誤差與偶材等級 |
| I級 |
II級 |
| 允差值 |
測溫范圍℃ |
允差值 |
測溫范圍℃ |
| SY-WRN |
K |
±1.5℃
±0.004│t│ |
-40~+375
375~1000 |
±2.5℃
±0.0075│t│ |
-40~+333
333~1200 |
| SY-WRM |
N |
±1.5℃
±0.004│t│ |
-40~+375
375~1000 |
±2.5℃
±0.0075│t│ |
-40~+333
333~1200 |
| SY-WRE |
E |
±1.5℃
±0.004│t│ |
-40~+375
375~800 |
±1.5℃
±0.004│t│ |
-40~+333
333~900 |
| SY-WRF |
J |
±1.5℃
±0.004│t│ |
-40~+375
375~750 |
±1.5℃
±0.004│t│ |
-40~+333
333~750 |
| SY-WRC |
T |
±1.5℃
±0.004│t│ |
-40-~+125
125~350 |
±1℃
±0.0075│t│ |
-40~+333
133~350 |
| SY-WRP |
S |
±1℃
±[1+0.003(t-1100)] |
0~+1100
1100~1600 |
±2.5℃
±0.0025│t│ |
0~600
600~1600 |
|
| |
|
| |
○接線盒形式
|
| |
|

防水式
|

防噴式
|
|
| |
注:電氣出口M未特殊指明,一律視為M20×1.5。
|
| |
|
 |
型號命名方法 |
| |
| |
|
|
|
|
|
|
|
|
|
|
|
SY-W
|
溫度儀表
|
| |
|
|
|
|
|
|
|
|
|
|
|
|
|
|
|
|
|
|
|
|
|
|
|
|
|
|
|
|
|
|
|
|
|
|
|
|
|
|
|
|
|
|
|
|
|
|
|
|
|
R
|
熱電偶
|
| |
|
|
|
|
|
|
|
|
|
|
|
|
|
|
|
|
|
|
|
|
|
|
|
|
|
|
|
|
|
|
|
|
|
|
|
|
|
|
|
|
|
|
|
|
|
|
|
|
感溫元件材料 分度號
|
|
M
N
E
F
C
P
Q
R
|
鎳鉻硅-鎳硅 N
鎳鉻-鎳硅 K
鎳鉻-銅鎳 E
鐵-銅鎳 J
銅-銅鎳 T
鉑銠10-鉑 S
鉑銠13-鉑 R
鉑銠30-鉑6 B
|
|
|
|
|
|
|
|
|
|
|
|
|
|
|
|
|
|
|
|
|
|
|
|
|
|
|
|
|
|
|
|
|
|
|
|
|
偶絲對數
|
|
無
2
|
單支
雙支
|
|
|
|
|
|
|
|
|
|
|
|
|
|
|
|
|
|
|
|
|
|
|
|
|
|
|
|
|
|
|
|
|
|
|
安裝固定形式
|
|
1
2
3
4
5
6
|
無固定裝置
固定螺紋
活動法蘭
固定法蘭
活絡管接頭式
錐形固定螺紋式
|
|
|
|
|
|
|
|
|
|
|
|
|
|
|
|
|
|
|
|
接線盒形式
|
|
2
3
|
防噴式
防水式
|
|
|
|
|
|
|
|
|
|
|
|
|
|
|
|
|
|
|
|
保護管直徑
|
|
0
1
2
3
|
Φ16
Φ20
Φ16高鋁質管
Φ20高鋁質管
|
|
|
|
|
|
|
|
|
|
|
|
|
工作端形式
|
|
G
|
變截面
|
|
|
|
|
|
|
|
|
|
|
|
|
|
SY-W
|
R
|
N
|
2
|
——
|
2
|
3
|
1
|
G
|
典型型號示例
|
|
| |
|
 |
 |
選型須知 |
| |
1)型號
2)分度號
3)精度等級
4)安裝固定形式
5)保護管材質
6)長度或插入深度
例A:熱電偶,K型,Ⅰ級,固定螺紋 M27×2,保護管316L,長度450mm,插入深度300mm。HR-WRN-220,K偶,L×I=450×300,Ⅰ級,保護管316L,螺紋M27×2。
|
 |
熱電偶(適用于鎧裝和隔爆熱電偶) |
|
| |
| 序號 |
形式 |
保護管材質 |
公稱壓力 |
熱響應時間 |
備注 |
| 1 |
無固定 |
高鋁質
(僅適用于N或K分度號)
1Cr18Ni9Ti
0Cr25Ni20
(適用于所有選型上熱電偶) |
常壓 |
<24S
(適用于工作溫度截面式)
<90S
(除了變截面式) |
保
護管直徑為
Φ16、Φ20
Φ16高鋁質管
Φ20高鋁質管具體要求雙方協商而定
|
| 2 |
固定螺紋 |
≤10MPa |
| 3 |
活動法蘭 |
常壓 |
| 4 |
固定法蘭 |
≤2.5MPa |
| 5 |
活絡管接頭式 |
常壓 |
| 6 |
錐形固定螺紋式 |
≤30MPa |
| 7 |
直形管接頭式 |
常壓 |
| 8 |
固定螺紋管接頭式 |
| 9 |
活動螺紋管接頭式 |
|
| |
|
| |
| 固定裝置類型 |
插入深度L (mm) |
附注 |
| 150 |
200 |
250 |
300 |
350 |
500 |
1000 |
1500 |
2000 |
| 無固定 |
|
保護管總長
L=l+150插入
深度及其保
護管材質可
按協議定貨
|
| 固定螺紋 |
| 活動法蘭 |
| 固定法蘭 |
| 活絡管接頭式 |
| 錐形固定螺紋式 |
| 直形管接頭式 |
| 固定螺紋管接頭式 |
| 活動螺紋管接頭式 |
|
| |
|
 |
保護管材質及選用
|
| |
| 材質 |
使用溫度 |
特點及用途 |
| 1Cr185Ni9Ti |
-200~800 |
具有高溫耐蝕性,通常作為一般熱鋼使用
|
| 304 |
-200~800 |
低碳含量,具有良好耐晶間腐蝕性,通常作為一般耐熱鋼使用
|
| 316 |
-200~750 |
低碳含量,具有良好耐晶間腐蝕性,作為耐腐蝕鋼使用
|
| 316L |
-200~750 |
超低碳含量,具有良好耐晶間腐蝕性,作為耐腐蝕鋼使用
|
| 310S |
-200~1000 |
具有高溫抗氧化性,耐腐蝕型通常作為熱鋼使用
|
| GH3030 |
0~1100 |
鎳基高溫合金鋼,具有優良抗氧化性,耐腐蝕型,通常作為耐熱鋼使用
|
|
|
|
|
|
本頁產品地址:http://www.521uz.com/sell/show-83257.html

免責聲明:以上所展示的[
裝配式熱電偶]信息由會員[
江蘇順儀儀表有限公司]自行提供,內容的真實性、準確性和合法性由發布會員負責。
[給覽網]對此不承擔任何責任。
友情提醒:為規避購買風險,建議您在購買相關產品前務必確認供應商資質及產品質量!