| 提交詢價信息 |
| 發布緊急求購 |
價格:電議
所在地:江蘇 淮安市
型號:RY-LZB
更新時間:2016-07-28
瀏覽次數:3153
公司地址:江蘇金湖經濟開發區同泰大道286號
![]()
周女士(女士)

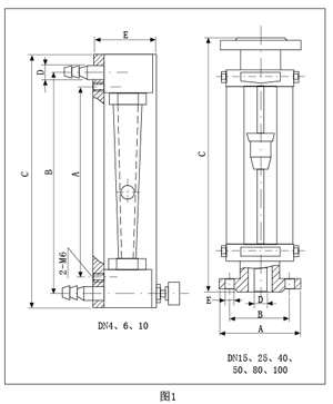
| 外形及安裝尺寸 | |
![]() |
![]() |
|
原理與結構
|
|
![]() |
LZB/LZB-( )F流量計的錐管為光滑內壁管(見圖4),通徑DN15以上的流量計,浮子通過導桿 上下移動,保持穩定;LZJ/LZJ-( )F流量計錐管 內壁有三條導向凸筋,使浮子保持穩定(見圖4)。 通徑DN10以下的流量計采用軟管連接,配有 針形流量調節閥;通徑DN15以上流量計采用 法蘭連接。
|
|
接觸測量流體的零部件材質 |

型號規格及技術參數

全不銹鋼型
法蘭、浮子、導桿、支承板及螺栓等均為不銹鋼304(1Cr18Ni9Ti),型號為LZB-( )B。
接液材質如需選用316,則型號為LZB-( )Bo,需定做。
如需不銹鋼內襯PTFE,則型號為LZB-( )BF(或BoF),需定做。
全四氟型
|
基座、浮子、針閥采用聚四氟乙烯(PTTFE)。支承板、螺絲等采用不銹鋼 |
免責聲明:以上所展示的[RY-LZB 玻璃轉子流量計 ]信息由會員[江蘇潤儀儀表有限公司]自行提供,內容的真實性、準確性和合法性由發布會員負責。