| 提交詢價信息 |
| 發布緊急求購 |
價格:電議
所在地:上海
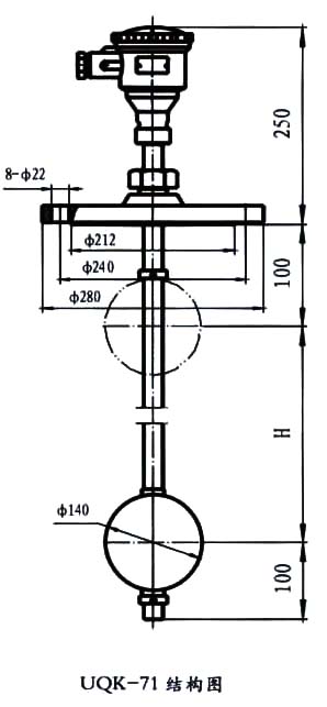
型號:UQK-71f
手機:13816682548
電話:021-65753080
更新時間:2014-07-29
瀏覽次數:2593
公司地址:上海市虹口區高陽路669號3號2802室
UQK-71f系列干簧式浮球液位控制器


|
結構形式
(型號)
|
結 果
|
功 能
|
|
UQK-71a
|
一只常開干簧(上位)
一只常閉干簧(下位)
|
高水位開泵
低水位停泵
|
|
UQK-71b
|
一只常開干簧(上位)
一只常閉干簧(下位)
|
高水位開泵
低水位停泵
|
|
UQK-71c
|
一只常開干簧管(上位)
一只常閉干簧管(下位)
|
自動控制
|
|
UQK-71d
|
三只常開干簧
一只常閉干簧
|
用于上、下位液位控制和高低極限液位報警
|
|
UQK-71e
|
一只常開干簧
三只常閉干簧
|
用于上、下位液位控制和高低極限液位報警
|
|
UQK-71f
|
四只常開干簧管
|
自動控制
|
□
UQK-71f主要技術指標
1、測量范圍
□ 安裝和接線

免責聲明:以上所展示的[UQK-71f 干簧管液位控制器]信息由會員[上海云鷗自動化儀表有限公司]自行提供,內容的真實性、準確性和合法性由發布會員負責。