| 提交詢價信息 |
| 發布緊急求購 |
價格:電議
所在地:江蘇 蘇州市
型號:OCS
更新時間:2016-01-23
瀏覽次數:1692
公司地址:吳中經濟開發區石湖西路
![]()
程先生(先生) 業務經理

全鋼結構外殼、耐碰撞、抗電磁干擾
·秤體內采用了本公司產品LN吊秤專用傳感器
·無線數傳距離無阻擋時大于100m,自帶信號強度,電源情況監測系統
·工作溫度可根據用戶要求定制常溫型-15℃~55℃耐熱型常溫~80℃
·儀表采用6V/4Ah鎳氫可充電電池供電
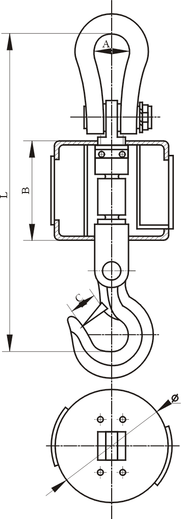
| 產品圖紙: |
|
|

免責聲明:以上所展示的[OCS 無線吊秤]信息由會員[蘇州聯眾電子衡器有限公司]自行提供,內容的真實性、準確性和合法性由發布會員負責。