| 提交詢價信息 |
| 發布緊急求購 |
價格:電議
所在地:上海
型號:605
手機:13816682548
電話:021-65753080
更新時間:2014-07-29
瀏覽次數:2113
公司地址:上海市虹口區高陽路669號3號2802室
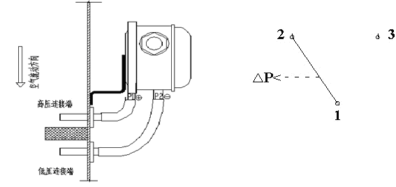
605帶指示燈氣體壓差開關原理,帶指示燈氣體壓差開關價格帶工作(紅)和待機(綠)指示燈是用于探測氣體壓力、壓差的設備,如檢測過濾網阻塞報警裝置,檢測空調機組中風機的啟/停狀態,通風管道中氣體監測等

605帶指示燈氣體壓差開關原理,帶指示燈氣體壓差開關價格指示燈氣體壓差開關價格
免責聲明:以上所展示的[605 氣體壓差開關]信息由會員[上海云鷗自動化儀表有限公司]自行提供,內容的真實性、準確性和合法性由發布會員負責。